Merikontin alanostosilmukkasetti 50 t / 4 kpl

Merikonttien nostoon kontin alakulmista max. 50° ketjukulmalla. Toimitus sisältää 4 kpl nostosilmukoita ilman sakkeleita.

WLL suorassa nostossa: 50 t

WLL 36° 40 t

WLL 50° 32 t

 

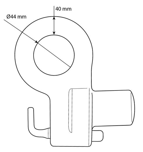
Merikontin nostosilmukoiden tekniset tiedot:

Näytä lisää

Tuotekoodi:

Merikonttien nostoon kontin alakulmista max. 50° ketjukulmalla. Toimitus sisältää 4 kpl nostosilmukoita ilman sakkeleita.

WLL suorassa nostossa: 50 t

WLL 36° 40 t

WLL 50° 32 t

 

Merikontin nostosilmukoiden tekniset tiedot:

  • Materiaali: Teräs
  • Merkintä: CE-merkintä
  • Lämpötila-alue: -40 - (+)200°C
  • Pintakäsittely: Maalattu, keltainen
  • Huomautus: Paino on 4 kpl setille
  • Varmuuskerroin: 4:1
Dokumentit